
News
模数转换器(ADC),是现实世界模拟信号与能被MCU处理与存储的数字信号之间的桥梁,是电子技术发展的不可或缺的组成部分,在不同的环境下需使用不同的结构类型的ADC,以使功耗、速率、分辨率、芯片面积等实现最优化。表1对比了几种常见结构ADC的速度、分辨率和功耗情况以及各自的应用领域。
表1 常见ADC的结构与特点
| 结构 | 转换速度 | 分辨率 | 功耗 | 典型应用 |
| 快闪式(Flash) | 250M~6GHz | ≤8bit | 高 | 通信、雷达、高速数据读取 |
| 折叠式(Folded) | 50M~500MHz | ≤10bit | 高 | 数据通信等 |
| 流水线型(Pipeline) | 1M~200MHz | 8~14bit | 中等 | 数据通信,视频等 |
| 逐次逼近型(SAR) | 50k~20MHz | 10~16bit | 低 | 音频、自动控制、仪表等 |
| 过采样型(Σ-Δ) | 20k~20MHz | ≥16bit | 中等 | 音频、通信、精密测试等 |
其中,流水线型模数转换器能在较低的功耗和较小的面积下实现较高的速度、较高分辨精度,同时便于系统集成。流水线模数转换器的转换速率可以达到200MSPs以上,分辨率可以达到14bit,在视频领域应用非常广泛。
什么是流水线ADC?
流水线ADC,英文释义为pipeline ADC,就是利用流水线信号处理的思路发展起来的,流水线是快速大量处理某项任务的一种方法,当采用流水线的概念流程完成一项任务时,该任务被分成若干个步骤,每一步骤需要大约相等的时间来执行,每一步需要一个执行器来完成。这若干个步骤组成一个队列,对于每一个要生产的产品或者要处理的采样数据,这些步骤都要按顺序来执行。当执行器1完成了步骤1后,它把产品或者采样数据送到流水线中的执行器2来进行步骤2,此时执行器1开始对下一个产品或者采样数据执行步骤1;这样各个不同的处理步骤可以同时进行,这在信号处理系统中,极大地提高了采样处理的速率。
流水线结构ADC的工作示意图如图1所示,在流水线ADC中,输入信号经过采样之后,顺序地沿着流水线移动,一步一步地进行数字转换,每一步转换得到一定数量的数字输出位,最高有效位最先得到,最低有效位最后得到。

图1 流水线结构ADC工作示意图
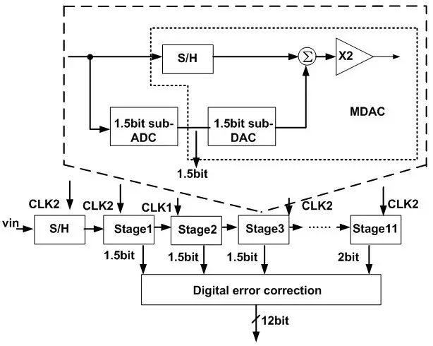
它实质上是一个多级幅值量化器,它的数字化过程由级联的多个结构相似的低精度模数转换器完成。它的主要优点在于:第一,流水线结构中各级处于并行工作状态,提高了转换速率;第二,与全并行结构ADC相比极大地节约了芯片面积并降低了功耗,例如一个N-bit的并行结构的ADC,需2的N次方减1个比较器,若为10bit的全并行ADC,则需要高达1023个比较器,而以1.5bit每级的流水线结构为例,仅需21个比较器,一种1.5bit每级的12bit高速pipeline ADC的结构如图2所示。

图2 12bit高速流水线ADC原理图
湘潭芯力特电子科技有限公司(简称芯力特公司)是一家专业从事混合信号集成电路设计的高科技企业,有专业的ADC设计团队,全面考虑各种非理想因素对ADC性能带来的影响,可以为客户定制性能优异、多种类型的ADC。公司围绕智慧电网等物联网致力于相关芯片技术攻关,采用灵活的商务模式提供专门的人力、物力进行技术服务与产品的定制设计,以满足客户的专用型需求,以一站式的服务达到客户与自身双赢的目的。
芯力特公司有非常优秀的AD/DA设计能力,在硅片上成功研发过多种AD,DA芯片与IP:
1)高精度高速10bit 100MHz pipeline/12bit 60MHz pipeline的ADC,已经在0.18um/0.13um CMOS工艺验证;
2)高精度低速低功耗12bit 4MHz SAR ADC,已经在0.18um CMOS工艺验证;
3)高精度低速的sigma-delta ADC,从14-24bit,已经在0.5um/0.35um/0.18um CMOS工艺验证;
4)极高速的200MHz 6-8bit flash ADC,已经在0.18um/0.13um CMOS工艺验证;
5) 8/10/12bitDAC,已经在0.35um/0.25um/0.18um/0.13umCMOS工艺验证。
联系方式:
联系人:张文杰
电话:18502537108
Email:zwj@sitcores.com
网址:www.sitcores.com
长按二维码关注“芯力特”微信号

Address: Room 1401, Headquarters Building, Changsha Zhongdian Software Park, No. 39, Jianshan Road, Changsha Hi-tech Development Zone, Changsha City, Hunan Province
Shanghai: No.88, Shangke Road, Pudong District, Shanghai
Shenzhen: 24F IMT Tower, No,1 Gaoxin South Road 7th Avenue, Nanshan, Shenzhen
Service-Tel: 18684986553
Service: service@sitcores.com
Recruit: tinachen@sitcores.com
Copyright © 2020 Hunan Silicon Internet of Things Technology Co., Ltd 湘ICP备2022017381号